工信部发布第306批公告 申龙客车看点几何?
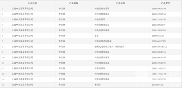
完美作业网有免费视频注意到,在工信部第306批《公告》中,上海申龙客车有限公司(简称:申龙客车)共计15款车型入围,产品种类涵盖城市客车、公路客车、厢式运输车、售货车等多个细分领域;动力形式涵盖纯电动、插电式以及传统燃油。多个细分领域、多种能源形势的全面入围也使得申龙客车成为工信部第306批《公告》中中国客车行业的看点之一。

经完美作业网有免费视频梳理后发现,在本期《公告》共102家企业的355款车型中,新能源客车150款,占比42.25%。申龙客车入围工信部第306批《公告》的15款车型中共包含13款客车,其中纯电动城市客车9款,纯电动客车2款,插电混合动力及传统燃油车各1款。有业内人士分析称,多个细分领域、多种能源形势的全面入围标志的申龙客车产品力的进一步提升,从申龙客车的车型申报情况也能在一定程度上读出企业在2018年的产品布局以及技术导向。

继申龙客车成为中国智能制造领先企业东旭光电旗下全资子公司后,解决了资金、技术、人才等方面的限制,竞争能力大增。相关销售数据显示,申龙客车自并入东旭光电后,业务发展迅速,在业内的曝光度也明显加强。2017年全年,申龙客车销量近7000台,其中新能源占比超过三分之二,新能源销量跻身行业前五强,增幅居行业首位。2018年新年伊始,除15款产品一次性入围《公告》外,申龙客车也在新能源公交市场传来利好。
2018年1月29日,200台申龙客车纯电动公交车整齐排列,顺利批量交付安徽恒瑞新能源股份有限公司。此次交付的200台纯电动公交车产品是申龙客车通过近年来不断研发、试验以及结合用户实际运营经验,并在轻量化、续航里程、安全可靠、节能环保等方面都具备良好表现的当家产品。200台新能源订单包括100台8.1米车型和100台8.5米车型。开年即斩获重磅订单印证了申龙客车的新能源产品技术实力,同时也为企业2018年的销售表现开了个好头。

除新能源客车外,申龙客车对专用车的布局也颇显远见。从本次入围工信部第306批《公告》车型分类来看,除13款客车外,申龙另有纯电动厢式物流车及售货车各一款入围。不久前,国务院颁布文件鼓励快递物流领域加快推广使用新能源汽车,并逐步提高使用比例,预示着该领域市场的加速开启。此外,申龙还与有“中国氢能第一股”之称的亿华通公司合作研发氢燃料电池车,以增强技术储备。
展望2018年新能源客车市场,补贴考核将进一步趋严,老牌龙头车企难免会出现产能增幅受限、技术更新迭代速度减缓的趋势,因此行业洗牌或趋加深。有业内分析人士认为,综合各方面表现,申龙客车等步入上升通道的新锐企业或将有机会在此轮洗牌中脱颖而出,对旧的行业格局进行进一步改写。
1、凡本网注明“来源:www.politicsinfos.com” 的所有作品,版权均属于完美作业网有免费视频,未经本网授权,任何单位及个人不得转载、摘编或以其它方式使用上述作品。已经本网授权使用作品的,应在授权范围内使用,并注明“来源:www.politicsinfos.com”。违反上述声明者,本网将追究其相关法律责任。
2、凡本网注明 “来源:XXX(非完美作业网有免费视频)” 的作品,均转载自其它媒体,转载目的在于传递更多信息,并不代表本网赞同其观点和对其真实性负责。
3、如因作品内容、版权和其它问题需要同本网联系的,请在30日内进行。
※ 有关作品版权事宜请联系:copyright#chinabuses.com
- 国庆假期收官,藕粉出行体验分享来啦![10-08]
- 合肥国际新能源车展 安凯引领“智·电”出行[10-01]
- 智驭未来 匠心筑梦 中车电动第五届职业技能大赛冠军揭晓[09-30]
- 打卡《黑神话:悟空》取景地 还得靠依维柯4X4[09-30]
- 中通H11交付首汽 助建首都高质量旅游客运服务体系[09-29]
- 绿色公交“新风景”安凯纯电动G6批量上岗绍兴 [09-29]
- 公共出行焦虑重重 欧辉客车BJ6859帮你做好情绪管理[09-29]
- 梦想1+1 VIP 中通客车助力森煜汽运打造彩云之南高端旅游靓丽名片[09-29]